Цепной рэтчет Green Pin без крюков P-7190

Производитель:

Материал: Сталь (класс 8), кованная, закаленная, с отпуском.

Запас прочности: MBL равен 2 х WLL

Стандарт: EN 12195-3

Окончательная обработка: окрашены в красный цвет

Сертификация: сертификат по запросу

Примечание: Stf = 3000 даН
Используется только для крепления грузов, не разрешается использовать для подъема грузов!

  • Цепной рэтчет Green Pin без крюков P-7190 - Системы крепления грузов
  • Цепной рэтчет Green Pin без крюков P-7190 - Системы крепления грузов
  • Цепной рэтчет Green Pin без крюков P-7190 - Системы крепления грузов

Производитель:

Материал: Сталь (класс 8), кованная, закаленная, с отпуском.

Запас прочности: MBL равен 2 х WLL

Стандарт: EN 12195-3

Окончательная обработка: окрашены в красный цвет

Сертификация: сертификат по запросу

Примечание: Stf = 3000 даН
Используется только для крепления грузов, не разрешается использовать для подъема грузов!

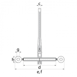
Размер
цепи
Длина Диаметр Толщина Длина
цилиндра
Длина
открытая
Длина
закрытая
Диаметр
внут.
отверстия
Диаметр
внеш.
отверстия
Рабочая
часть
Стяг-щее
усилие
Максим.
допуст.
нагрузка
Предел.
рабочая
нагрузка
Вес
 
мм
a
мм
b
мм
c
мм
d
мм
e
мм
f
мм
g
мм
h
мм
 
мм
 
т
 
т
 
т
 
кг
 8 387 65 14 255 538 374 18 50 164 4 5 8 3,3
 10 387 65 14 255 546 381 20 55 165 6,3 7,9 12,6 3,4
 13 387 65 14 260 589 419 25 66 170 10 12,5 21,2 4
 16 387 65 14 260 579 419 30 71 160 16 20 32,2 4,1



Другие товары в этой категории: