Заливная муфта с пальцем Crosby SB-427 оцинкованная

Производитель:

Материал: корпус из литой стали, оцинкованные концевые элементы

Стандарт: Соответствует эксплуатационным требованиям EN 13411-6:2003.

Назначение: Разработаны для использования на мобильных кранах. Могут использоваться с высоко производительными канатами с антивращательными характеристиками и со стандартными 6-жильными канатами.

Описание:

  • Оцинкованные концевые элементы с пальцем имеют 100% эффективность на основе каталоговой прочности каната.
  • В простом для сборки комплекте применяется муфтенный элемент Crosby® WIRELOCK®.
  • Муфты и пальцы могут использоваться повторно.
  • Могут быть предоставлены пальцы и муфты для замены.

  • Заливная муфта с пальцем Crosby SB-427 оцинкованная - Муфты
  • Заливная муфта с пальцем Crosby SB-427 оцинкованная - Муфты

Производитель:

Материал: корпус из литой стали, оцинкованные концевые элементы

Стандарт: Соответствует эксплуатационным требованиям EN 13411-6:2003.

Назначение: Разработаны для использования на мобильных кранах. Могут использоваться с высоко производительными канатами с антивращательными характеристиками и со стандартными 6-жильными канатами.

Описание:

  • Оцинкованные концевые элементы с пальцем имеют 100% эффективность на основе каталоговой прочности каната.
  • В простом для сборки комплекте применяется муфтенный элемент Crosby® WIRELOCK®.
  • Муфты и пальцы могут использоваться повторно.
  • Могут быть предоставлены пальцы и муфты для замены.

Размер каната
SB-427
Артикул
Вес кажд.
кг
Муфта
Артикул
Палец  Артикул
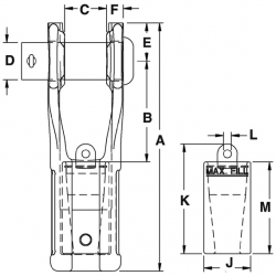
Размеры в мм
дюйм
мм
А
В
С
D
E
F
J
K
L
1/2-5/8
13-16
1052005
2.76
1052107
1052309
183
67.6
32.5
30.2
31.0
15.7
38.1
88.9
6.35
5/8 - 3/4
16-19
1052014
4.67
1052116
1052318
217
79.2
38.8
35.1
36.6
19.1
44.5
109
9.65
3/4 - 7/8
19-23
1052023
7.75
1052125
1052327
254
92.0
45.2
41.1
42.9
22.4
52.3
121
9.65
7/8-1
22-26
1052032
13,24
1052134
1052336
298
111
51.6
51.0
51.0
26.2
61.3
143
15.7
1-1/8- 1-1/4
28-32
1052041
20.36
1052143
1052345
351
127
64.3
57.2
63.5
28.2
74.7
180
19.1
1-3/8- 1-1/2
35-38
1052050
35,38
1052152
1052354
424
152
77.0
69.9
79.2
32.3
91.9
205
19.1

Требования к Wirelock®

Размер каната
WIRELOCK®
требуемый
куб. см
WIRELOCK®
 
Артикул
WIRELOCK®
Размер комплекта
куб.см
дюйм
мм
1/2-5/8
13-16
35
1039602
100
5/8 - 3/4
16-19
60
1039602
100
3/4 - 7/8
19-23
100
1039602
100
7/8-1
22-26
140
1039602 *
100
1-1/8- 1-1/4
28-32
250
1039604
250
1-3/8- 1-1/2
35-38
420
1039606
500

* Требуется 2 комплекта



Другие товары в этой категории: