Горизонтально-вертикальные системы FX-HV FLAIG TE

Производитель:

Грузоподъемность 200 - 3000 кг

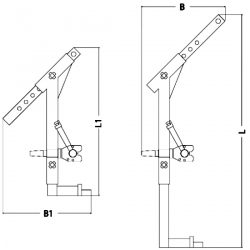
Горизонтально-вертикальные магнитные системы FX-HV можно адаптировать под любой вид применения благодаря разнообразию настроек. Высота и вылет регулируются фиксаторами. Устройство может быть использовано на 20% грузоподъемности без опоры груза на нижние опорные штыри. Страховочные штыри ориентированы на захват плоских, стоящих вертикально на узкой стороне грузов (что часто требуется на линиях резки).

Устройство позволяет перемещать и лежащие на плоской стороне диски и листы. Для горизонтальной транспортировки предусмотрена проушина в задней части подъемной балки. Стальная конструкция полностью окрашена, стабильный магнит FX обеспечивает максимум безопасности.

Возможно изготовление по индивидуальным размерам.

  • Горизонтально-вертикальные системы FX-HV - Магнитные захваты
  • Горизонтально-вертикальные системы FX-HV - Магнитные захваты
  • Горизонтально-вертикальные системы FX-HV - Магнитные захваты
  • Горизонтально-вертикальные системы FX-HV - Магнитные захваты

Производитель:

Грузоподъемность 200 - 3000 кг

Горизонтально-вертикальные магнитные системы FX-HV можно адаптировать под любой вид применения благодаря разнообразию настроек. Высота и вылет регулируются фиксаторами. Устройство может быть использовано на 20% грузоподъемности без опоры груза на нижние опорные штыри. Страховочные штыри ориентированы на захват плоских, стоящих вертикально на узкой стороне грузов (что часто требуется на линиях резки).

Устройство позволяет перемещать и лежащие на плоской стороне диски и листы. Для горизонтальной транспортировки предусмотрена проушина в задней части подъемной балки. Стальная конструкция полностью окрашена, стабильный магнит FX обеспечивает максимум безопасности.

Возможно изготовление по индивидуальным размерам.

Модель Артикул Диски (мм) Листы (мм) Макс. г/п с опорой (кг) Макс. г/п без опоры (кг) Габариты (мм) Вес (кг)
L B L1 B1
FX-HV 200 1103 0202 250 - 750 2000 х 750 200 40 1000 400 715 390 24
FX-HV 400 1103 0402 400 - 1000 2000 х 1000 400 80 1250 450 795 475 31
FX-HV 800 1103 0802 500 - 1200 2000 х 1250 800 160 1500 500 1040 520 64
FX-HV 2000 1103 2002 500 - 1200 2000 х 1250 2000 400 1800 600 1200 650 272
FX-HV 3000 1103 3002 500 - 1200 2000 х 1250 3000 600 1800 600 1200 650 321

Макс. рабочая температура 80°C • Вес конструкции с учетом магнита



Другие товары в этой категории: