Грузоподъемность: 500 - 10000 кг.
Бухты, рулоны листовой стали, кольца и прочий похожий груз надежно транспортируются при помощи С-образных крюков Tigrip.
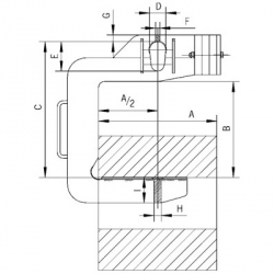
Длина лапы и внутренняя высота крюка подобраны под наиболее распространённые типоразмеры рулонов металла.
Другие грузоподъёмности, размеры и исполнения возможны под заказ.
Грузоподъемность: 500 - 10000 кг.
Бухты, рулоны листовой стали, кольца и прочий похожий груз надежно транспортируются при помощи С-образных крюков Tigrip.
Длина лапы и внутренняя высота крюка подобраны под наиболее распространённые типоразмеры рулонов металла.
Другие грузоподъёмности, размеры и исполнения возможны под заказ.
| Тип | № EAN 4025092* |
Г/п кг |
Вес кг |
Ширина кольца, A мм |
Полезная высота, B мм |
C мм |
D мм |
E мм |
F мм |
G мм |
H мм |
I мм |
| TCK 0.5/300 | *554800 | 500 | 21 | 300 | 400 | 570 | 60 | 120 | 20 | 25 | 20 | 50 |
| TCK 0.5/500 | *552417 | 500 | 30 | 500 | 400 | 580 | 60 | 120 | 20 | 23 | 20 | 65 |
| TCK 0.5/800 | *554817 | 500 | 46 | 800 | 400 | 580 | 60 | 120 | 25 | 23 | 25 | 70 |
| TCK 1.0/300 | *554824 | 1000 | 28 | 300 | 450 | 620 | 60 | 120 | 25 | 23 | 20 | 70 |
| TCK 1.0/500 | *554831 | 1000 | 40 | 500 | 450 | 630 | 60 | 120 | 20 | 23 | 25 | 80 |
| TCK 1.0/800 | *552783 | 1000 | 95 | 800 | 450 | 630 | 60 | 120 | 30 | 23 | 30 | 90 |
| TCK 2.0/300 | *554848 | 2000 | 45 | 300 | 500 | 700 | 75 | 150 | 25 | 38 | 25 | 90 |
| TCK 2.0/500 | *551830 | 2000 | 90 | 500 | 500 | 700 | 75 | 150 | 30 | 38 | 30 | 110 |
| TCK 2.0/800 | *552615 | 2000 | 140 | 800 | 500 | 720 | 75 | 150 | 30 | 38 | 30 | 125 |
| TCK 2.0/1000 | *552479 | 2000 | 180 | 1000 | 500 | 720 | 75 | 150 | 20 | 35 | 40 | 125 |
| TCK 3.0/300 | *554855 | 3000 | 68 | 300 | 500 | 700 | 75 | 150 | 30 | 38 | 30 | 105 |
| TCK 3.0/500 | *554862 | 3000 | 127 | 500 | 500 | 700 | 75 | 150 | 20 | 40 | 30 | 125 |
| TCK 3.0/800 | *552431 | 3000 | 165 | 800 | 500 | 720 | 75 | 150 | 25 | 40 | 40 | 140 |
| TCK 3.0/1000 | *554879 | 3000 | 215 | 1000 | 500 | 720 | 75 | 150 | 20 | 40 | 40 | 155 |
| TCK 5.0/500 | *551298 | 5000 | 184 | 500 | 550 | 800 | 100 | 200 | 25 | 45 | 40 | 145 |
| TCK 5.0/800 | *554886 | 5000 | 238 | 800 | 550 | 800 | 100 | 200 | 30 | 45 | 50 | 160 |
| TCK 5.0/1000 | *554893 | 5000 | 286 | 1000 | 550 | 820 | 100 | 200 | 30 | 45 | 50 | 180 |
| TCK 5.0/1250 | *554909 | 5000 | 364 | 1250 | 550 | 820 | 100 | 200 | 30 | 45 | 50 | 200 |
| TCK 7.5/800 | *555043 | 7500 | 390 | 800 | 600 | 900 | 110 | 220 | 35 | 50 | 50 | 200 |
| TCK 7.5/1000 | *551984 | 7500 | 520 | 1000 | 600 | 900 | 110 | 220 | 35 | 50 | 60 | 200 |
| TCK 7.5/1250 | *551878 | 7500 | 650 | 1250 | 600 | 900 | 110 | 220 | 35 | 45 | 60 | 220 |
| TCK 7.5/1500 | *554916 | 7500 | 767 | 1500 | 600 | 920 | 110 | 220 | 35 | 50 | 70 | 220 |
| TCK 10.0/1000 | *554923 | 10000 | 772 | 1000 | 650 | 980 | 130 | 250 | 40 | 50 | 70 | 220 |
| TCK 10.0/1250 | *551670 | 10000 | 810 | 1250 | 650 | 1000 | 130 | 250 | 45 | 55 | 70 | 240 |
| TCK 10.0/1500 | *554930 | 10000 | 980 | 1500 | 650 | 1000 | 130 | 250 | 45 | 55 | 80 | 240 |