Вертикальный захват CrosbyIP IPU10/IPU10J

Производитель:

Грузоподъемность 0.5 – 30 тонн

Вертикальный зажим IPU10 используется для подъема, перемещения или вертикальной транспортировки металлических листов, пластин или оборудования.

  • Продукция изготовлена из сварного сплава металла для большей прочности и меньшего размера. При необходимости, могут использоваться для компонентов кованный сплав.
  • Каждый продукт проходит двойное Индивидуальное тестирование на WLL (предельную рабочую нагрузку), что удостоверяется Свидетельством.
  • Название (CrosbyIP), логотип, WLL и открытие челюсти - всегда отпечатывается на продукте.
  • Каждый продукт имеет индивидуальный серийный номер и дату теста проверки грузоподъемности, отпечатанной на металле. Регистрационный номер включен в свидетельство об испытании, сертификат техобслуживания и гарантийный журнал.
  • Захват доступен во множестве вариаций:
    - IPU10 – стандартный зажим для материалов, твердость поверхности 37Rc (345HB).
    - IPU10J – большое открытие челюсти.
  • Для осуществления передачи, поворота и перемещения захват поворачивается на полные 180 °.
  • Дополнительно используется IP 5000, что дает легкую связь между крюком подъема и захватом.
  • Минимальный WLL – 10% максимального WLL.
  • Доступен комплекты замены.
  • Соответствует ISO 9001.

  • Вертикальный захват CrosbyIP IPU10/IPU10J - Вертикальные захваты
  • Вертикальный захват CrosbyIP IPU10/IPU10J - Вертикальные захваты
  • Вертикальный захват CrosbyIP IPU10/IPU10J - Вертикальные захваты
  • Вертикальный захват CrosbyIP IPU10/IPU10J - Вертикальные захваты
  • Вертикальный захват CrosbyIP IPU10/IPU10J - Вертикальные захваты

Производитель:

Грузоподъемность 0.5 – 30 тонн

Вертикальный зажим IPU10 используется для подъема, перемещения или вертикальной транспортировки металлических листов, пластин или оборудования.

  • Продукция изготовлена из сварного сплава металла для большей прочности и меньшего размера. При необходимости, могут использоваться для компонентов кованный сплав.
  • Каждый продукт проходит двойное Индивидуальное тестирование на WLL (предельную рабочую нагрузку), что удостоверяется Свидетельством.
  • Название (CrosbyIP), логотип, WLL и открытие челюсти - всегда отпечатывается на продукте.
  • Каждый продукт имеет индивидуальный серийный номер и дату теста проверки грузоподъемности, отпечатанной на металле. Регистрационный номер включен в свидетельство об испытании, сертификат техобслуживания и гарантийный журнал.
  • Захват доступен во множестве вариаций:
    - IPU10 – стандартный зажим для материалов, твердость поверхности 37Rc (345HB).
    - IPU10J – большое открытие челюсти.
  • Для осуществления передачи, поворота и перемещения захват поворачивается на полные 180 °.
  • Дополнительно используется IP 5000, что дает легкую связь между крюком подъема и захватом.
  • Минимальный WLL – 10% максимального WLL.
  • Доступен комплекты замены.
  • Соответствует ISO 9001.

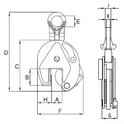
Модель Предельная допус. нагрузка
т*
Артикул Вес
кг
Размеры в мм
Зев A B C D E F G H J K
IPU10 0.5 2701675 1.9 0 - 16 44 128 228 40 115 41 28 - 11
IPU10 1 2701663 2.4 0 - 20 45 139 222 40 126 41 38 - 11
IPU10 2 2701677 8.5 0 - 35 78 201 372 70 190 61 55 - 16
IPU10 3 2701665 14.8 0 - 40 100 253 445 75 225 78 60 - 20
IPU10 4.5 2701667 16.0 0 - 40 100 253 445 75 232 82 65 - 20
IPU10 6 2701669 24.0 0 - 50 126 302 525 80 292 84 95 44 20
IPU10J 6 2702469 30.2 50 - 100 126 302 525 80 342 84 95 44 20
IPU10 9 2701671 29.5 0 - 50 126 325 557 80 310 92 105 44 20
IPU10J 9 2701673 30.5 50 - 100 126 325 562 80 360 92 105 44 20
IPU10 12 2701679 57.0 0 - 54 160 391 623 80 331 117 137 41 25
IPU10J 12 2701681 59.0 54 - 108 178 439 673 80 415 117 137 41 25
IPU10 16 2701683 72.0 5 - 64 178 465 734 88 397 119 153 45 25
IPU10J 16 2701685 85.0 64 - 128 208 521 790 88 472 119 161 45 25
IPU10 22.5 2701687 127 5 - 80 222 554 855 110 470 136 186 49 25
IPU10J 22.5 2701689 130 80 - 155 253 628 930 110 575 136 196 49 25
IPU10 30 2701691 153 5 - 80 222 545 860 110 470 152 186 54 30
IPU10J 30 2701693 165 80 - 155 250 620 935 110 565 152 196 54 30

* Соответствует стандартам EN 13155 и ASME B30.20.



Другие товары в этой категории: