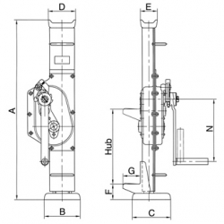
Домкрат стальной Pfaff-Silberblau STW-F в соответствии с DIN 7355

Производитель:

Грузоподъемность от 1500 до 10000 кг

Домкраты механические представляют собой незаменимое грузоподъемное оборудование для ремонтных мастерских, магазинов оборудования, железнодорожной, кораблестроительной и многих других промышленностей.

Механические домкраты STW-F с фиксированным подъемом отличаются прекрасным качеством, долговечностью и надежностью в использовании и предлагают покупателю прекрасное соотношение цена/качество. Стальные ручные домкраты серии STW-F предлагаются с тремя вариантами ручек и грузоподъемностью от 1500 до 10000 кг

  • Домкрат стальной Pfaff-Silberblau STW-F в соответствии с DIN 7355 - Стальные и реечные домкраты
  • Домкрат стальной Pfaff-Silberblau STW-F в соответствии с DIN 7355 - Стальные и реечные домкраты

Производитель:

Грузоподъемность от 1500 до 10000 кг

Домкраты механические представляют собой незаменимое грузоподъемное оборудование для ремонтных мастерских, магазинов оборудования, железнодорожной, кораблестроительной и многих других промышленностей.

Механические домкраты STW-F с фиксированным подъемом отличаются прекрасным качеством, долговечностью и надежностью в использовании и предлагают покупателю прекрасное соотношение цена/качество. Стальные ручные домкраты серии STW-F предлагаются с тремя вариантами ручек и грузоподъемностью от 1500 до 10000 кг

Ручка домкрата
Г/п
кг
Высота
мм
Подъем
мм
Вес
кг
Sifeku
Siku
Raku
30001139
30001007
30001015
1500
720
350
12
30002135
30002003
30002011
3000
720
350
21
30003131
30003069
30003018
5000
720
300
26
-
30004006
30004014
10000
792
300
42

Ручка домкрата
A
мм
B
мм
C
мм
D
мм
E
мм
F
мм
G
мм
H
мм
J
мм
K
мм
L
мм
M
мм
N
мм
Sifeku
Siku
Raku
30001139
30001007
30001015
720 130 140 90 50 60 60 - - - - - 250
30002135
30002003
30002011
720 130 140 90 50 61 65 - - - - - 250
30003131
30003069
30003018
720 145 155 110 68 62 70 - - - - - 250
-
30004006
30004014
792 145 155 125 80 85 85 - - - - - 300



Другие товары в этой категории: