Крантележка монтажная СМ Easy Roller 1000-3000 кг

Производитель:

Грузоподъемность 1.000-3.000 кг

 

CM Easy Roller легко устанавливается на потолочные балки для быстрого прикрепления и транспортировки грузов.

 

Устройство CM Easy Roller имеет запас прочности 5:1.

 

Характеристики

  • Винтовой шпиндель обеспечивает быструю установку на балку вручную в зависимости от ширины полки.
  • Фиксация шпинделя контрирующим рычагом для повышения безопасности работы.
  • Основные компоненты оцинкованы для защиты от коррозии.

 

Информация

  • Перегрузка и использование не по назначению могут привести к выходу оборудования из строя.
  • Подъемное оборудование корпорации СМ не предназначено для подъема людей.

  • Крантележка монтажная СМ Easy Roller 1000-3000 кг - Крантележки
  • Крантележка монтажная СМ Easy Roller 1000-3000 кг - Крантележки
  • Крантележка монтажная СМ Easy Roller 1000-3000 кг - Крантележки

Производитель:

Грузоподъемность 1.000-3.000 кг

 

CM Easy Roller легко устанавливается на потолочные балки для быстрого прикрепления и транспортировки грузов.

 

Устройство CM Easy Roller имеет запас прочности 5:1.

 

Характеристики

  • Винтовой шпиндель обеспечивает быструю установку на балку вручную в зависимости от ширины полки.
  • Фиксация шпинделя контрирующим рычагом для повышения безопасности работы.
  • Основные компоненты оцинкованы для защиты от коррозии.

 

Информация

  • Перегрузка и использование не по назначению могут привести к выходу оборудования из строя.
  • Подъемное оборудование корпорации СМ не предназначено для подъема людей.

Модель
EAN-№
4025092*
Грузо-
подъемность
 Ширина полки
  b
Радиус
поворота
мин.
Собств.
вес
 
 
кг
мм
мм кг
CM Easy Roller 1000-A
*041904
1000
60 - 150
0,60 2,5
CM Easy Roller 2000-A
*041928
2000
75 - 200
0,90 9,9
CM Easy Roller 2000-B
*041942
2000
200 - 300
0,90 10,3
CM Easy Roller 3000-A
*041966
3000
75 - 200
1,15 17,5
CM Easy Roller 3000-B
*041980
3000
200 - 320
1,15 19,5

 

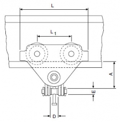
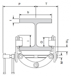
Размеры

Модель
CM Easy Roller
1000-А
CM Easy Roller
2000-А
CM Easy Roller
2000-В
CM Easy Roller
3000-А
CM Easy Roller
3000-В
А, мм
 80 - 109  106 - 155  136 - 191  128 - 171  150 - 212
D, мм
 26  42  42  50  50
E, мм
 22  20  20  22  22
H1, мм
 20  24  24  31  31
I, мм
 53  72  72  96  96
L, мм
 160  260  260  310  310
L1, мм
 75  130  130  150  150
M, мм
 M12 M18  M18  M24  M24
O, мм
 46  60  60  80  80
P, мм
 153  205  255  220  280
T, мм
 105  139  189  155  215
t макс., мм
 15  25  25  25  25

 



Другие товары в этой категории: