Крюк экскаваторный GH Excel, Класс 8
Производитель:
- Материал: легированная сталь (класс 8) с закалкой и отпуском
- Запас прочности: MBL равен 4 x WLL
- Конечная обработка: окраска в желтый цвет (J)
- Сертификаты: изделие сопровождается Рабочим Сертификатом, Сертификатом 3.1 и Сертификатом соответствия нормам EC
- Примечание: сварка должна быть выполнена в соответствии с DIN 5817 пункт 15429, квалифицированным сварщиком в соответствии с EN 287-1
Производитель:
- Материал: легированная сталь (класс 8) с закалкой и отпуском
- Запас прочности: MBL равен 4 x WLL
- Конечная обработка: окраска в желтый цвет (J)
- Сертификаты: изделие сопровождается Рабочим Сертификатом, Сертификатом 3.1 и Сертификатом соответствия нормам EC
- Примечание: сварка должна быть выполнена в соответствии с DIN 5817 пункт 15429, квалифицированным сварщиком в соответствии с EN 287-1
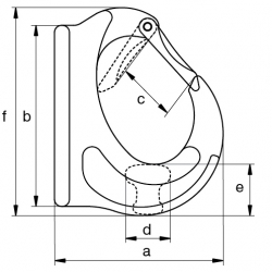
| Артикул |
Рабочая нагрузка |
Диаметр |
Диаметр основы |
Наружный диаметр кольца |
Внутренний диаметр кольца |
Длина |
Толщина основы |
Диаметр |
Вес, одного изделия |
| |
t |
a
mm |
b
mm |
c
mm |
d
mm |
e
mm |
f
mm |
g
mm |
кг |
| GH0.75J |
0.75 |
59 |
71 |
22 |
14 |
21 |
82 |
20 |
0.24 |
| GH1J |
1 |
72 |
78 |
25 |
19 |
28 |
108 |
26 |
0.52 |
| GH2J |
2 |
92 |
85 |
33 |
20 |
28 |
114 |
34 |
0.7 |
| GH3J |
3 |
105 |
104 |
33 |
26 |
32 |
129 |
34 |
1.15 |
| GH4J |
4 |
121 |
130 |
38 |
27 |
37 |
148 |
38 |
1.66 |
| GH5J |
5 |
138 |
150 |
43 |
28 |
46 |
167 |
44 |
2.36 |
| GH8J |
8 |
145 |
148 |
43 |
42 |
53 |
173 |
51 |
3.32 |
| GH10J |
10 |
178 |
197 |
60 |
47 |
61 |
225 |
67 |
6.44 |
| GH15J |
15 |
185 |
226 |
65 |
62 |
70 |
251 |
80 |
9.7 |
Другие товары в этой категории: