Вертлюжная петля JDT TP-F

Производитель:

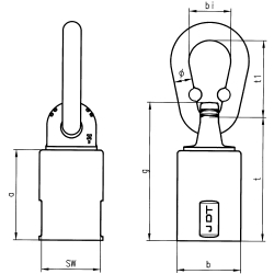
  • Данный вид вертлюга с внутренней резьбой.
  • Длина резьбы составляет 1,25 x d.
  • Указанная на маркировке WLL применяется при 90º крепления груза.
  • В качестве соединительных элементов допускаются болты классом качества 10.9.
  • Различные типы резьбы и длины могут поставляться по запросу.

  • Вертлюжная петля JDT TP-F - Рым-болты
  • Вертлюжная петля JDT TP-F - Рым-болты
  • Вертлюжная петля JDT TP-F - Рым-болты

Производитель:

  • Данный вид вертлюга с внутренней резьбой.
  • Длина резьбы составляет 1,25 x d.
  • Указанная на маркировке WLL применяется при 90º крепления груза.
  • В качестве соединительных элементов допускаются болты классом качества 10.9.
  • Различные типы резьбы и длины могут поставляться по запросу.

Наименование Тип резьбы
d×e (mm)
Крутящий момент затяжки
Nm
Шаг резьбы
DIN 13
a
mm
Ø b
mm
g
mm
SW
mm
t
mm
Звено
Ø×t1×bi (mm)
Вес
kg
Артикул
TP-F 0,5 M 12х15 15 - 40 1,75 45 36,5 73 34 66 13х55х32 0,61 0381800000
TP-F 1 M 16х20 45 - 130 2 52 36,5 80 34 73 13х55х32 0,65 0381801000
TP-F 1,7 M 20х25 100 - 170 2,5 66 52 106 46 95 16х70х34 1,5 0381802000
TP-F 2,1 M 24х30 190 - 280 3 80 57 120 50 108 18х85х45 2,12 0381804000
TP-F 3,2 M 30х40 230 - 400 3,5 94 70 148 65 131 20х86х46 3,7 0381806000
TP-F 5 M 36х45 270 - 600 4 107 80 164 75 145 23х155х60 5,75 0381808000



Другие товары в этой категории: